Đề thi học sinh giỏi tỉnh Long An lớp 12 vòng 1 năm 2012 - 2013 môn Vật lý (Bảng A)
Để chuẩn bị cho kỳ thi chọn học sinh giỏi, Vndoc.com xin giới thiệu đến các bạn: Đề thi học sinh giỏi tỉnh Long An lớp 12 vòng 1 năm 2012 - 2013 môn Vật lý (Bảng A).
Đề thi học sinh giỏi môn Vật lý:
SỞ GIÁO DỤC VÀ ĐÀO TẠO
|
KỲ THI CHỌN HỌC SINH GIỎI LỚP 12 VÒNG 1
|
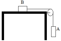
Câu 1: (3 điểm)
Trên mặt bàn có một vật B khối lượng m2 = 1kg được nối với vật A khối lượng m1 = 500g bằng một sợi dây không dãn vắt qua một cái ròng rọc có khối lượng không đáng kể. Hệ số ma sát giữa vật B và mặt bàn là µ = 0,2. Bỏ qua ma sát ở ròng rọc. Lấy g = 10m/s2.

a. Buông cho hệ chuyển động. Tìm gia tốc của vật A, B và lực căng dây?
b. Cho bàn chuyển động thẳng đứng hướng xuống với gia tốc a0. Xác định a0 để:
- Vật A chuyển động với gia tốc bằng 1/2 gia tốc lúc bàn đứng yên.
- Để vật B không trượt.
Câu 2: (3 điểm)
Cho ba bình thông nhau có thể tích lần lượt là V1, V2 = 2V1, V3 = 3V1. Ban đầu chứa một lượng khí ở nhiệt độ T1 = 100K và p0 = 0,5atm. Sau đó giữ nguyên nhiệt độ bình một, nung bình hai lên đến 400K và bình ba lên đến 600K (giữa các bình có vách cách nhiệt). Tìm áp suất trong bình sau khi nung?

Câu 3: (3 điểm)
Cho ba điện tích điểm giống nhau q = 6.10-8C đặt trong không khí tại ba đỉnh của một tam giác đều. Xác định vị trí, dấu và độ lớn của điện tích q0 để cho toàn bộ hệ cân bằng?
Câu 4: (3 điểm)
Cho đoạn mạch với R1 = R2 = R3 = R4 = R5 = 3Ω, R6 là một biến trở, nguồn điện có suất điện động £ = 5,4V, tụ có C = 10µF, vôn kế có điện trở rất lớn.

a. Cho R6 = 1Ω thì vôn kế chỉ 3,6V. Tính r và điện tích của tụ?
b. Xác định R6 để công suất trên R6 cực đại, tính công suất đó?
Câu 5: (3 điểm)
Dùng ròng rọc có 2 vành bán kính R2 = 2R1 để kéo một vật nặng khối lượng m = 50kg từ mặt đất lên cao 10m nhanh dần đều trong 2s bỏ qua mọi ma sát. Coi ròng rọc là một đĩa tròn có khối lượng M = 2kg. Lấy g =10m/s2. Hãy xác định độ lớn lực F?

Câu 6: (3 điểm)
Đặt một vật sáng AB vuông góc với trục chính của thấu kính cho ảnh A1B1 cùng chiều nhỏ hơn vật. Nếu tịnh tiến vật dọc trục chính một đoạn 30cm thì ảnh tịnh tiến 1cm. Biết rằng ảnh trong trường hợp đầu bằng 1,2 lần ảnh sau khi dịch chuyển.
a. Đây là thấu kính gì? Tính tiêu cự của thấu kính?
b. Nếu đặt thêm một thấu kính thứ hai có f2 = 60cm sát với thấu kính trên và đồng trục thì thấy ảnh cách hệ thấu kính 30cm. Xác định vị trí vật?
Câu 7: (2 điểm)
Nêu cách đo hệ số ma sát trượt giữa vật A và mặt phẳng nghiêng mà chỉ dùng lực kế. Biết rằng mặt phẳng nghiêng không làm vật tự trượt.
