Đề ôn luyện Toán lớp 2 - Đề số 8
Đề tự ôn luyện Toán 2 học kỳ 1
Lớp:
Lớp 2
Môn:
Toán
Bộ sách:
Kết nối tri thức với cuộc sống
Loại File:
PDF
Phân loại:
Tài liệu Tính phí

VnDoc - Tải tài liệu, văn bản pháp luật, biểu mẫu miễn phí
Đề ôn luyện Toán lớp 2 - Đề số 8
A. YÊU CẦU
Củng cố và phát triển kiến thức, kĩ năng về:
Phép cộng (có nhớ) dạng 36+15.
Bảng cộng qua 10 trong phạm vi 20
Phép cộng có tổng bằng 100
B. ĐỀ LUYỆN TẬP
ĐỀ BÀI:
1.Viết số hạng thích hợp vào ô trống;
2. Đặt tính rồi tính:
46+35 26+39 66+18 36+37
………… …………… ……………. …
…………. …………… …………….. …
…………. ……………. …………….. …
3. Tô màu vào những quả bóng ghi phép tính có kết quả bằng 44:
4. Số?

VnDoc - Tải tài liệu, văn bản pháp luật, biểu mẫu miễn phí
5. Nối theo mẫu:
6. Số?
Trong hình bên cả hình tứu giác và hình tam giác có …. hình.
7. Điền chữ số thích hợp vào chỗ trống:
a) 7….> 69 + 9 b) 88 + 7 <……7
8. a) Tính nhẩm:
40+60=……. 70+30=……. 80+20=…….
40+50+10=……. 70+20+10=……. 80+10+10=…….
90+10=……. 50+50=……. 60+40=…….
60 +30+ 10=……. 30+ 20+ 50=……. 60+ 20 +20=…….
b) Số?
35+25+…..=100 …..+82+8=100

VnDoc - Tải tài liệu, văn bản pháp luật, biểu mẫu miễn phí
9. Khoanh vào phép cộng có kết quả bằng 100.
65 + 35 46 + 44 52 + 48 19 + 81
73 + 17 24 + 7 6 39 + 51 47 +
53
10. Lớp 2A có 26 bạn, lớp 2B có nhiều hơn lớp 2A 2 bạn. Hỏi lớp 2B có bao
nhiêu bạn?
Bài giải:
……………………………………………………………………………….
……………………………………………………………………………….
……………………………………………………………………………….
11. Cây bưởi nhà Hòa có 85 quả, cây bưởi nhà Hòa ít hươn cây bưởi nhà Mai
15 quả. Hỏi cây bưởi nhà Mai có bao nhiêu quả?
Bài giải:
……………………………………………………………………………….
……………………………………………………………………………….
……………………………………………………………………………….
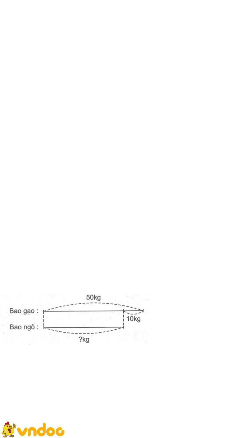
12. Nêu đề bài rồi giải bài toán theo tóm tắt sau:
Đề bài toán:………………………………………………………………
Bài giải:
……………………………………………………………………………….
……………………………………………………………………………….
Đề ôn luyện Toán lớp 2 - Đề 8
Đề ôn luyện Toán lớp 2 - Đề số 8 bao gồm chi tiết các dạng toán có đáp án giúp các em học sinh ôn tập, củng cố kỹ năng giải Toán lớp 2, tự luyện tập các dạng bài tập chuẩn bị cho kỳ thi sắp tới môn Toán lớp 2 đạt kết quả cao. Mời các em tham khảo chi tiết.
>>> Bài tiếp theo: Đề ôn luyện Toán lớp 2 - Đề số 9
Đề ôn luyện môn Toán lớp 2 - Đề số 8 có ví dụ và bài tập vận dụng kèm hướng dẫn giải chi tiết cho các em học sinh tham khảo vận dụng kỹ năng giải bài tập Toán lớp 2, giúp các em học sinh tự ôn tập và rèn luyện môn Toán nâng cao lớp 2.