Giải Vở bài tập Khoa học 4 bài 37: Tại sao có gió?
Tại sao có gió khoa học 4
Giải Vở bài tập Khoa học lớp 4 bài 37: Tại sao có gió? có đáp án chi tiết cho từng bài tập trang 52, 53 VBT Khoa học 4 tập 2 giúp các em học sinh nắm được các kiến thức khoa học lớp 4. Mời các em học sinh cùng tham khảo chi tiết.
Hướng dẫn giải Vở bài tập Khoa học lớp 4 bài 37 đầy đủ các câu hỏi trang 52, 53. Sau đây là nội dung chi tiết.
Vở bài tập khoa học lớp 4 trang 52 Câu 1
Nối ô chữ ở cột A với ô chữ ở cột B cho phù hợp
| A | B | |
| 1. Gió nhẹ | a. Chong chóng quay nhanh | |
| 2. Không có gió | b. Chong chóng không quay | |
| 3. Gió mạnh | c. Chong chóng quay chậm |
Lời giải:

Vở bài tập khoa học lớp 4 trang 52 Câu 2
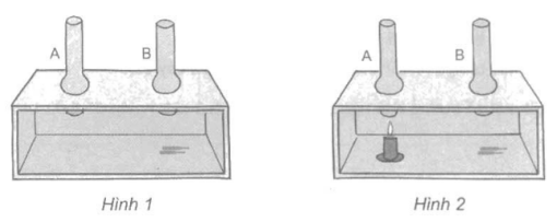
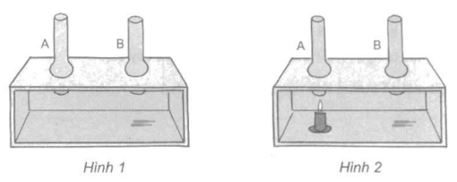
a) Đặt một vài mẩu hương cháy đã tắt lửa nhưng còn bốc khói vào dưới ống B. Quan sát hình 1 và dự đoán xem khói hương bay ra qua ống nào. Hãy vẽ đường bay của khói hương vào hình 1.
b) Ngoài vài mẩu hưởng ở ống B như hình 1, đặt thêm một cây nến đang cháy dưới ống A. Quan sát hình 2 và dự đoán khói hương bay ra qua ống nào. Hãy vẽ đường bay của ống khói hương vào hình 2.

c) Vì sao bạn lại dự đoán như vậy?
Lời giải:
a) Khói hương bay ra qua ống B.
b) Khói hương bay ra từ ống A.
c) Do không khí chuyển động từ nơi lạnh đến nơi nóng, nên khói hương chuyển động sang ống A đang nóng hơn
Vở bài tập khoa học lớp 4 trang 53 Câu 3
Viết chữ Đ vào ô trống trước câu trả lời đúng, chữ S vào ô trống trước câu trả lời sai.
|
|
Ban ngày, dưới ánh sáng mặt trời, phần đất liền nóng nhanh hơn phần biển. Do đó, không khí ở phần biển sẽ lạnh hơn không khí ở phần đất liền. Không khí chuyển động từ nơi lạnh đến nơi nóng và tạo thành gió từ biển thổi vào đất liền |
|
|
Ban ngày, dưới ánh sáng mặt trời, phần đất liền nóng nhanh hơn phần biển. Do đó, không khí ở phần biển sẽ lạnh hơn không khí ở phần đất liền. Không khí chuyển động từ nơi nóng đến nơi lạnh và tạo thành gió từ đất liền thổi ra biển. |
|
|
Ban đêm, phần đất liền nguội đi nhanh hơn phần biển. Do đó, không khí ở phần đất liền sẽ lạnh hơn không khí ở phần biển. Không khí chuyển động từ nơi lạnh đến nơi nóng và tạo thành gió từ đất liền thổi ra biển. |
Đáp án
|
Đ |
Ban ngày, dưới ánh sáng mặt trời, phần đất liền nóng nhanh hơn phần biển. Do đó, không khí ở phần biển sẽ lạnh hơn không khí ở phần đất liền. Không khí chuyển động từ nơi lạnh đến nơi nóng và tạo thành gió từ biển thổi vào đất liền |
|
S |
Ban ngày, dưới ánh sáng mặt trời, phần đất liền nóng nhanh hơn phần biển. Do đó, không khí ở phần biển sẽ lạnh hơn không khí ở phần đất liền. Không khí chuyển động từ nơi nóng đến nơi lạnh và tạo thành gió từ đất liền thổi ra biển. |
|
Đ |
Ban đêm, phần đất liền nguội đi nhanh hơn phần biển. Do đó, không khí ở phần đất liền sẽ lạnh hơn không khí ở phần biển. Không khí chuyển động từ nơi lạnh đến nơi nóng và tạo thành gió từ đất liền thổi ra biển. |
Tham khảo lời giải SGK tương ứng: Giải bài tập SGK Khoa học 4 bài 37: Tại sao có gió. Lời giải đầy đủ các bài tập cho các em cùng luyện tập, củng cố thêm cho bài học.
Chuyên mục Khoa học lớp 4 cung cấp đầy đủ các lời giải SGK cũng như VBT các bài trong năm học. Các em học sinh so sánh đối chiếu với kết quả bài làm của mình tại đây.
Ngoài ra, các em học sinh hoặc quý phụ huynh còn có thể tham khảo thêm đề thi học kì 1 lớp 4 và đề thi học kì 2 lớp 4 các môn Toán, Tiếng Việt, Tiếng Anh, Khoa, Sử, Địa theo chuẩn của bộ Giáo Dục. Những đề thi này được sưu tầm và chọn lọc từ các trường tiểu học trên cả nước nhằm mang lại cho học sinh lớp 4 những đề ôn thi học kì chất lượng nhất. Mời các em cùng quý phụ huynh tải miễn phí đề thi về và ôn luyện.