Giải bài tập VBT Vật lý lớp 8 bài 14: Định luật về công
Giải VBT Vật Lý 8 bài 14: Định luật về công
Giải bài tập VBT Vật lý lớp 8 bài 14: Định luật về công tổng hợp các lời giải hay và chính xác, hướng dẫn các bạn giải chi tiết các bài tập cơ bản và nâng cao trong vở bài tập Lý 8. Hi vọng đây sẽ là tài liệu tham khảo hữu ích môn Vật lý lớp 8 dành cho quý thầy cô và các bạn học sinh.
- Giải bài tập VBT Vật lý lớp 8 bài 10: Lực đẩy Ác-si-mét
- Giải bài tập VBT Vật lý lớp 8 bài 11: Thực hành: Nghiệm lại lực đẩy Ác-si-mét
- Giải bài tập VBT Vật lý lớp 8 bài 12: Sự nổi
- Giải bài tập VBT Vật lý lớp 8 bài 13: Công cơ học
Câu C1 trang 63 VBT Vật Lí 8: So sánh hai lực F1 và F2
Lời giải:
Ta có: F2 = 1/2F1.
Câu C2 trang 63 VBT Vật Lí 8: So sánh hai quãng đường đi được s1 và s2:
Lời giải:
Ta có: s2 = 2s1.
Câu C3 trang 63 VBT Vật Lí 8: So sánh công của lực F1 (A1 = F1.s1) và công của lực F2 (A2 = F2.s2).
Lời giải:
Vì F2 = 1/2F1 và s2 = 2.s1 nên A1 = A2.
Câu C4 trang 63 VBT Vật Lí 8:
Lời giải:
Dùng ròng rọc động được lợi hai lần về lực thì lại thiệt hai lần về đường đi, nghĩa là không được lợi gì về công.
III - VẬN DỤNG
Câu C5 trang 63 VBT Vật Lí 8:
Lời giải:
a) Trường hợp thứ nhất: lực kéo nhỏ hơn 2 lần.
b) Trong cả 2 trường hợp, công của lực kéo bằng nhau.
c) Vì không có ma sát nên công của lực kéo trên mặt phẳng nghiêng cũng bằng công nâng trực tiếp vật lên sàn ô tô.
A = FS = P.h = 500.1 = 500J.
Câu C6 trang 63-64 VBT Vật Lí 8:
Lời giải:
a) Khi kéo vật lên đều bằng ròng rọc động thì lực kéo chỉ bằng phân nửa trọng lượng của vật, nghĩa là:
F = P/2 = 420/2 = 210N.
Dùng ròng rọc động lợi hai lần về lực nhưng thiệt hai lần về đường đi nên độ cao đưa vật lên thực tế bằng phân nửa quãng đường dịch chuyển của ròng rọc, nghĩa là h = 8 : 2 = 4m.
b) Công nâng vật lên là A = P.h = 420.4 = 1680J.
Ghi nhớ:
Định luật về công: Không một máy cơ đơn giản nào cho lợi về công, được lợi bao nhiêu lần về lực thì thiệt bấy nhiêu lần về đường đi và ngược lại.
Bài 14.1 trang 64 VBT Vật Lí 8: Người ta đưa một vật nặng lên độ cao h bằng hai cách. Cách thứ nhất, kéo trực tiếp vật lên theo phương thẳng đứng. Cách thứ hai, kéo vật theo mặt phẳng nghiêng có chiều dài gấp hai lần độ cao h. Nếu bỏ qua ma sát ở mặt phẳng nghiêng thì:
A. Công thực hiện ở cách thứ hai lớn hơn vì đường đi lớn gấp hai lần.
B. Công thực hiện ở cách thứ hai nhỏ hơn vì lực kéo vật theo mặt phẳng nghiêng nhỏ hơn.
C. Công thực hiện ở cách thứ nhất lớn hơn vì lực kéo lớn hơn.
D. Công thực hiện ở cách thứ nhất nhỏ hơn vì đường đi của vật chỉ bằng nửa đường đi của vật ở cách thứ hai.
E. Công thực hiện ở hai cách đều như nhau.
Lời giải:
Chọn E.
Theo định luật về công thì không có một máy cơ đơn giản nào cho ta lợi về công nên công thực hiện ở hai cách đều như nhau.
Bài 14.2 trang 65 VBT Vật Lí 8: Một người đi xe đạp đạp đều từ chân dốc lên đỉnh dốc cao 5m. Dốc dài 40m. Tính công do người đó sinh ra. Biết rằng lực ma sát cản trở xe chuyển động trên mặt đường là 20N, người và xe có khối lượng là 60kg.
Tóm tắt:
h = 5m; s = 40m; Fms = 20N; m = 60kg.
Công A = ?
Lời giải:
Người và xe có khối lượng m = 60kg nghĩa là trọng lượng bằng:
P = 10.m = 10.60 = 600N.
Công hao phí do lực ma sát sinh ra là:
A1 = Fms.s = 20.40 = 800J.
Công có ích là: A2 = P.h = 600.5 = 3000J.
Công của người sinh ra bao gồm công để thắng được lực ma sát và công đưa người lên cao:
A = A1 + A2 = 800J + 3000J = 3800J.
Bài 14.7 trang 65 VBT Vật Lí 8: Người ta dùng một mặt phẳng nghiêng để kéo một vật có khối lượng 50kg lên cao 2 m.
a) Nếu không có ma sát thì lực kéo là 125N. Tính chiều dài của mặt phẳng nghiêng.
b) Thực tế có ma sát và lực kéo vật là 150N. Tính hiệu suất của mặt phẳng nghiêng.
Lời giải:
Vật nặng có khối lượng 50kg nghĩa là trọng lượng bằng:
P = 10.m = 10.50 = 500N.
a) Công của lực kéo vật lên theo mặt phẳng nghiêng là: A = F.l
Công của lực kéo trực tiếp vật theo phương thẳng đứng là:
A1 = P. h = 500N.2m = 1000J.
Theo định luật về công thì A = A1, nghĩa là A1 = F.l

b) Thực tế có ma sát và lực kéo vật là 150N.
Hiệu suất của mặt phẳng nghiêng là:

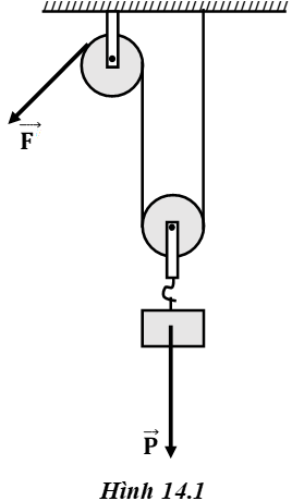
Bài 14a trang 66 VBT Vật Lí 8: Để kéo một vật nặng lên cao, người ta dùng một hệ thống ròng rọc như hình 14.1. Vật nặng có trọng lượng là P. Coi khối lượng của ròng rọc không đáng kể và bỏ qua ma sát. Để kéo vật lên với vận tốc không đổi, cần một lực F bằng:
A. P. B. P/3.
C. P/2. D. P/4.

Lời giải:
Chọn C.
Khi vật đi lên được 1 đoạn h thì lực F phải kéo dây di chuyển 1 đoạn là 2s, đo công không thay đổi nên ta được lợi 2 lần về lực. Do đó: F = P/2.
Bài 14b* trang 66 VBT Vật Lí 8: Người ta kê một tấm ván để kéo một cái hòm khối lượng 60kg lên một xe tải. Sàn xe tải cao 0,8m, tấm ván dài 2,5m, lực kéo bằng 300N. Tính lực ma sát giữa đáy hòm và mặt ván. Tính hiệu suất của mặt phẳng nghiêng.
Lời giải:
Vật nặng có khối lượng 60kg nghĩa là trọng lượng bằng:
P = 10.m = 10.60 = 600N.
Công của lực kéo vật lên theo mặt phẳng nghiêng là:
A = F.l = 300.2,5 = 750J.
Công của lực kéo trực tiếp vật theo phương thẳng đứng là:
A1 = P. h = 600N.0,8m = 480J.
Công của lực ma sát giữa đáy hòm và mặt ván là:
AFms = A – A1 = 750 – 480 = 270J.
Mặt khác: AFms = Fms.s = Fms.l (vì s = l).
Suy ra lực ma sát giữa đáy hòm và mặt ván là: Fms = 270/2,5 = 108N.
Hiệu suất của mặt phẳng nghiêng là:

....................................
Ngoài Giải bài tập VBT Vật lý lớp 8 bài 14: Định luật về công. Mời các bạn học sinh còn có thể tham khảo các đề thi học học kì 1 lớp 8, đề thi học học kì 2 lớp 8 các môn Toán, Văn, Anh, Hóa, Lý, Địa, Sinh mà chúng tôi đã sưu tầm và chọn lọc. Với đề thi học kì 2 lớp 8 này giúp các bạn rèn luyện thêm kỹ năng giải đề và làm bài tốt hơn. Chúc các bạn ôn thi tốt