II. Khái niệm hình chiếu
Câu hỏi: Quan sát Hình 2.1 và cho biết tia chiếu ở các phép chiếu khác nhau như thế nào?

Lời giải
a) Phép chiếu xuyên tâm: Các tia chiếu kéo dài đồng quy tại tâm chiếu.
b) Phép chiếu song song: Các tia chiếu song song với nhau.
c) Phép chiếu vuông góc: Các tia chiếu song song với nhau và vuông góc với mặt phảng hình chiếu.
III. Hình chiếu vuông góc
1. Phương pháp xây dựng hình chiếu vuông góc
Câu hỏi: Quan sát Hình 2.3 và cho biết: Làm thế nào để nhận được hình chiếu vuông góc của vật thể?

Để nhận được hình chiếu vuông góc của vật thể ta cần đặt vật thể trong không gian được tạo bởi ba mặt phẳng hình chiếu vuông góc với nhau từng đôi một (MPHC đứng, MPHC bằng, MPHC cạnh) rồi lần lượt chiếu vuông góc vật thể theo các hướng từ trước ra sau, từ trên xuống dưới và từ trái sang phải để nhận được các hình chiếu:
- Hình chiếu A: Hình chiếu từ trước (Hình chiếu đứng).
- Hình chiếu B: Hình chiếu từ trên (Hình chiếu bằng).
- Hình chiếu C: Hình chiếu từ trái (Hình chiếu cạnh).
2. Bố trí các hình chiếu
Câu hỏi 1: Quan sát Hình 2.4 và đọc tên các hình chiếu theo hướng chiếu tương ứng.

- Hình chiếu A: Hình chiếu từ trước (Hình chiếu đứng).
- Hình chiếu B: Hình chiếu từ trên (Hình chiếu bằng).
- Hình chiếu C: Hình chiếu từ trái (Hình chiếu cạnh).
Câu hỏi 2: Vì sao phải xoay các mặt phẳng hình chiếu về trùng với mặt phẳng hình chiếu đứng?
Lời giải
Phải xoay các mặt phẳng hình chiếu về trùng với mặt phẳng hình chiếu đứng vì khi lập bản vẽ, người ta dễ thể hiện các hình chiếu trên mặt phẳng giấy.
Câu hỏi 3: Cho biết vị trí các hình chiếu bằng, hình chiếu cạnh so với hình chiếu đứng trên mặt phẳng giấy vẽ.
Hình chiếu bằng ở bên dưới còn hình chiếu cạnh ở bên phải hình chiếu đứng.
Câu hỏi 4: Nét đứt mảnh trên hình chiếu B (Hình 2.4) thể hiện cạnh nào của vật thể?
Lời giải
Nét đứt mảnh trên hình chiếu B (Hình 2.4) thể hiện cạnh không nhìn thấy của vật thể.
Luyện tập
Câu hỏi: Cho vật thể với các hướng chiếu A, B, C (Hình 2.5a) và các hình chiếu 1, 2, 3 (Hình 2.5b). Hãy ghép cặp hình chiếu với hướng chiếu tương ứng.

Lời giải
1 - A, 2 - C, 3 - B.
IV. Hình chiếu vuông góc của khối đa diện
1. Khối đa diện

Quan sát Hình 2.6 và cho biết:
Câu hỏi 1: Các mặt đáy, mặt bên của các khối đa diện là hình gì?
Câu hỏi 2: Mỗi khối đa diện có những kích thước nào được thể hiện trên hình?
Lời giải
Câu hỏi 1:
- Khối hộp chữ nhật: Mặt đáy mặt bên là các hình chữ nhật.
- Khối lăng trụ tam giác đều: Mặt đáy là hình tam giác, mặt bên là hình chữ nhật.
- Khối chóp tứ giác đều: Mặt đáy là hình vuông, mặt bên là hình tam giác.
Câu hỏi 2:
Mỗi khối đa diện có kích thước chiều dài, chiều rộng của đáy (hoặc cạnh đáy) và chiều cao được thể hiện trên hình.
2. Vẽ hình chiếu vuông góc của khối đa diện
Câu hỏi 1: Từ hình chiếu đứng, xác định vị trí hình chiếu bằng như thế nào?
Lời giải
Kẻ đường gióng từ hình chiếu đứng để xác định vị trí vẽ hình chiếu bằng sao cho hình chiếu bằng ở dưới hình chiếu đứng.
Câu hỏi 2: Các hình chiếu của khối hộp chữ nhật là các hình gì? Mỗi hình chiếu thể hiện kích thước nào của khối hộp?
Lời giải
Các hình chiếu của khối hộp chữ nhật là các hình chữ nhật bao quanh hình hộp.
Mỗi hình chiếu thể hiện kích thước:
- Hình chiếu đứng: chiều dài (chiều rộng) x chiều cao.
- Hình chiếu bằng: chiều dài x chiều rộng.
- Hình chiếu cạnh: chiều rộng (chiều dài) x chiều cao.
Câu hỏi 3: Quan sát Hình 2.8 và cho biết:
- Các hình chiếu của khối lăng trụ tam giác đều là hình gì?
- Kích thước của hình chiếu cạnh.

Lời giải
- Hình chiếu đứng: hình chữ nhật.
- Hình chiếu bằng: hình tam giác.
- Hình chiếu cạnh: hình chữ nhật.
- Kích thước của hình chiếu cạnh: a x h.
Luyện tập
Câu hỏi: Vẽ các hình chiếu của khối chóp tứ giác đều Hình 2.6c với kích thước a = 60 mm, h = 100 mm.
Lời giải

V. Hình chiếu vuông góc của khối tròn xoay
1. Khối tròn xoay
Câu hỏi: Quan sát Hình 2.9 và cho biết: Khi quay hình chữ nhật, hình tam giác vuông, nửa hình tròn quanh một trục cố định ta được các khối tròn xoay như thế nào?

Khi quay hình chữ nhật quanh một trục cố định ta được khối trụ.
Khi quay hình tam giác vuông quanh một trục cố định ta được khối nón.
Khi quay nửa hình tròn quanh một trục cố định ta được khối cầu.
2. Vẽ hình chiếu vuông góc của khối tròn xoay
Câu hỏi: Quan sát Hình 2.10 Em hãy cho biết h và d thể hiện kích thước nào của vật thể?

Lời giải
- h: chiều cao khối trụ.
- d: đường kính đáy khối trụ/ đườn kính khối cầu.
Luyện tập
Câu hỏi: Cho các hình chiếu vuông góc (Hình 2.11a) và các khối tròn xoay (Hình 2.11b). Hãy ghép cặp khối tròn xoay với hình chiếu vuông góc tương ứng.

Lời giải
1 - B, 2 - A.
VI. Thực hành
Câu hỏi 1: Lựa chọn tỉ lệ thích hợp, vẽ hình chiếu vuông góc của khối nón có đường kính đáy d = 100 mm, chiều cao nón h = 150 mm.
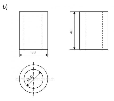
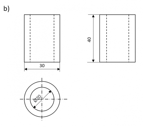
Câu hỏi 2: Vẽ các hình chiếu vuông góc và ghi kích thước của vật thể ở Hình 2.12.

Lời giải
Câu hỏi 1:

Câu hỏi 2:

