Lý thuyết Công nghệ 11 Cánh diều bài 18
Lý thuyết Công nghệ lớp 11 bài 18: Nguyên lí làm việc của động cơ đốt trong được VnDoc sưu tầm và tổng hợp nội dung lí thuyết nằm trong chương trình giảng dạy môn Công nghệ lớp 11 sách Cánh diều.
Bài: Nguyên lí làm việc của động cơ đốt trong
1. Một số thuật ngữ cơ bản
1.1. Điểm chết
- Điểm chết là vị trí tại đó piston đổi chiều chuyển động.
- Có hai điểm chết là điểm chết trên (ĐCT) và điểm chết dưới (ĐCD).
- ĐCT là vị trí piston ở xa tâm trục khuỷu nhất.
- ĐCD là vị trí piston ở gần tâm trục khuỷu nhất.

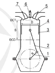
Hình 18.1. Lược đồ động cơ đốt trong
1. Trục khuỷu, 2. Thanh truyền, 3. Pit tông, 4 Xilanh; 5. Xupap xa, 6 Bugi (hoặc với phun), 7 Xupap nạp
1.2. Hành trình pít tông (S)
- Hành trình piston là quãng đường của piston di chuyển giữa hai điểm chết.
1.3. Các thể tích xilanh
- Thể tích xylanh là không gian bên trong xylanh được giới hạn bởi đỉnh piston, xylanh và nắp máy.
- Ở động cơ đốt trong có các thể tích sau:
+ Thể tích toàn phần V, là thể tích xylanh khi piston ở ĐCD.
+ Thể tích buồng cháy V, là thể tích xylanh khi piston ở ĐCT.
+ Thể tích công tác Vc là thể tích xylanh giới hạn bởi xylanh và hai tiết diện đi qua các điểm chết.
- Xilanh có đường kính D, hành trình pít tông S (hình 18.1) thì thể tích công tác được tính bằng biểu thức:

Hình 18.2. Thể tích xi lanh
- Thể tích công tác tính bằng cm3 hoặc lít.
- V càng lớn, công suất càng lớn.
- Đối với động cơ nhiều xylanh, V tổng là tổng thể tích công tác của các xylanh.
1.4. Tỉ số nén
- Tỉ số nén là tỉ số giữa thể tích toàn phần và thể tích buồng cháy, kí hiệu là ε

- Động cơ xăng thường có tỉ số nén ε = 6 - 12.
- Động cơ Diesel thường có tỉ số nén ε = 14 - 25.
1.5. Chu trình công tác
- Động cơ đốt trong làm việc lặp đi lặp lại bốn quá trình: nạp, nén, cháy - giãn nở và thải.
- Bốn quá trình này tạo thành chu trình công tác (chu trình làm việc) của động cơ.
1.6. Kì
Kì là một phần của chu trình công tác khi pít tông di chuyển được một hành trình.
2. Nguyên lí làm việc của động cơ 4 kì
2.1. Cấu tạo chung của động cơ 4 kì
- Động cơ 4 kì có 1 chu trình công tác, bao gồm 4 quá trình tương ứng với 2 vòng quay trục khuỷu.
- Cấu trúc động cơ xăng 4 kì và động cơ Diesel 4 kì giống nhau, khác nhau chỉ ở bố trí bugi và vòi phun như hình 18.2.

Hình 18.3. Cấu tạo động cơ 4 ki
1. Cate, 2 Trục khuỷu, 3. Thanh truyền, 4. Thân máy; 5. Pit tông, 6, Nắp máy, 7 Xu pop thái, 8. Cam thái, 9. Bugi (ở động cơ xăng) hoặc vòi phun (ở động cơ Diesel), 10. Cam nap. 11. Xu pap nap
2.2. Nguyên lí làm việc của động cơ Diesel 4 kì
a) Kì nạp
- Pít tông đi từ ĐCT đến ĐCD, Xupap nạp mở, Xupap thải đóng (hình 18.4a).
- Thể tích xilanh tăng khi pít tông đi xuống, áp suất trong xilanh giảm.
- Không khí từ đường ống nạp thông qua cửa nạp đi vào xilanh động cơ.
b) Kì nén
- Pít tông đi từ ĐCD đến ĐCT (hình 18.4b), cả hai Xupap khí đều đóng.
- Áp suất và nhiệt độ trong xilanh tăng do pít tông nén khí khi đi lên.
- Vào cuối giai đoạn nén, vòi phun phun nhiên liệu vào xilanh để tạo thành hỗn hợp khí nhiên liệu và khí oxy và tự bốc cháy.
c) Kì cháy - giãn nở
- Pít tông đi từ ĐCT đến ĐCD, cả hai xu páp vẫn đóng.
- Hoà khí cháy tạo áp suất và nhiệt độ trong xilanh tăng.
- Khí cháy đẩy pít tông đi xuống và thực hiện giãn nở sinh công.
d) Kì thải
- Pít tông đi từ ĐCD đến ĐCT (hình 18.4d), đẩy khí thải qua ống xả.
- Kết thúc quá trình xả, Xupap thải đóng lại. Xupap nạp mở ra để thực hiện chu trình làm việc tiếp theo.

Hình 18.4. Sơ đồ chu trình làm việc của động cơ Diesel 4
2.3. Nguyên lí làm việc của động cơ xăng 4 kì
- Về nguyên lí, động cơ xăng 4 kì làm việc tương tự động cơ Diesel 4 kì. Tuy nhiên, có sự khác biệt như sau:
- Ở kì nạp, khí nạp vào xilanh là hỗn hợp không khí và nhiên liệu (động cơ xăng) hoặc không khí (động cơ phun xăng trực tiếp).
- Cuối kì nén, bugi đánh lửa để đốt cháy hoà khí trong xilanh.
3. Nguyên lí làm việc của động cơ 2 kì
3.1. Cấu tạo chung của động cơ 2 kì
- Động cơ 2 ki có chu trình công tác tương ứng với hai hành trình của pít tông.
- Động cơ 2 kì có nhiều loại, hình 18.5 trình bày cấu tạo của động cơ xăng 2 kì sử dụng cacte nén khí.

Hình 18.5. Cấu tạo động cơ xăng 2 kì
3.2. Nguyên lí làm việc động cơ xăng 2 kì
a) Kì 1
- Hành trình pít tông đi từ ĐCT đến ĐCD, có thể chia ra ba giai đoạn:
+ Giai đoạn 1: Cháy-giãn sinh công, pít tông đi xuống và làm quay trục khuỷu (hình 18.6a), kết thúc khi pít tông mở cửa thải (9).
+ Giai đoạn 2: Thải tự do, khí thải trong xilanh được thai qua cửa thải (9) từ khi pít tông mở cửa thải (9) đến khi bắt đầu mở cửa quét (5) (hình 18.6b).
+ Giai đoạn 3: Quét-thải khí, khí nạp mới qua đường thông (4) và cửa quét (5) nạp vào xilanh động cơ, đồng thời khí thải trong xilanh ra ngoài từ khi pít tông mở cửa quét (5) đến khi đi xuống ĐCD (hình 18.6c).
- Trước khi mở cửa thải, thân pít tông đã đóng cửa nạp (10).
- Khi pít tông xuống, khí nạp mới trong cacte (1) được nén làm áp suất trong buồng cacte tăng lên.
b) Kì 2
- Pit tông đi từ ĐCD đến ĐCT:
+ Giai đoạn quét-thải khí tiếp tục từ khi pít tông ở ĐCD đi lên đến khi đóng cửa quét (5), khi khí nạp mới đi vào xilanh và khí thải ra ngoài qua đường thải (hình 18.6d).
+ Giai đoạn lọt khí diễn ra từ khi đóng cửa quét (5) đến khi đóng cửa thải (9), khi một phần hoà khí trong xilanh bị lọt ra ngoài qua cửa thải (hình 18.6e).
+ Giai đoạn nén bắt đầu khi pít tông đóng cửa thải và kết thúc khi đạt đến ĐCT (hình 18.6f), khi áp suất và nhiệt độ trong xilanh tăng nhanh. Cuối giai đoạn này, bugi tạo tia lửa điện để đốt cháy hoà khí và tiếp tục quá trình cháy.
- Pít tông đi lên làm thể tích cacte tăng, áp suất trong cacte giảm.
- Khi pít tông mở cửa nạp (10), khí nạp sẽ qua cửa nạp vào cacte.

Hình 18.6. Sơ đồ chu trình làm việc của động cơ xăng 2 kì
3.3. Nguyên lí làm việc động cơ Diesel 2 kì
- Nguyên lí làm việc của động cơ Diesel 2 ki giống với động cơ xăng 2 kì, khác biệt như đã trình bày ở động cơ 4 kì.
- Động cơ Diesel 2 ki không dùng cacte tạo khí quét, mà sử dụng máy nén khí để nạp khí vào xilanh động cơ.
4. Một số thông số kĩ thuật cơ bản
4.1. Tốc độ quay
- Tốc độ quay động cơ tính bằng số vòng quay của trục khuỷu trong một phút, ký hiệu là n, đo bằng vòng/phút
- Tốc độ quay định mức (nđm) là tốc độ quay động cơ phát công suất lớn nhất theo thiết kế.
4.2. Công suất động cơ
- Công suất có ích ký hiệu là Ne, đơn vị kw hoặc mã lực (HP), là công suất động cơ được truyền từ trục khuỷu đến máy công tác.
- Công suất định mức là công suất lớn nhất của động cơ theo thiết kế.
- Đơn vị mã lực có thể quy đổi thành kW theo tỷ lệ 1 HP ~ 0,736 kW.
4.3. Mômen xoắn
- Mômen xoắn của động cơ là mômen truyền từ trục khuỷu ra máy công tác, kí hiệu là Me (đơn vị N.m).
- Tốc độ quay định mức, công suất định mức, mômen xoắn tối thiểu là các thông số kĩ thuật quan trọng thường được cung cấp kèm với động cơ.
4.4. Mức tiêu thụ nhiên liệu
- Mức tiêu thụ nhiên liệu là khối lượng nhiên liệu tiêu thụ trên 1 đơn vị thời gian, Gnl (kg/h).
- Đánh giá mức tiêu thụ nhiên liệu trên phương tiện giao thông thông qua lít nhiên liệu tiêu thụ trên 100km. Mức tiêu thụ càng nhỏ thì động cơ càng tiết kiệm nhiên liệu.
>>> Bài tiếp theo: Lý thuyết Công nghệ 11 Cánh diều bài 19