Giải VBT Vật lý lớp 6 - Bài 16: Ròng rọc
Giải VBT Vật lý lớp 6 - Bài 16: Ròng rọc là tài liệu tham khảo môn Vật lý 6 hay dành cho các em học sinh, giúp các em ôn tập và củng cố kiến thức đã học trên lớp, từ đó hoàn thành tốt mục tiêu học tập của mình.
Giải VBT Vật lý lớp 6: Ròng rọc
A. Học theo SGK
I – TÌM HIỂU VỀ RÒNG RỌC
Câu C1 trang 56 VBT Vật Lí 6:
Lời giải:
Mô tả các ròng rọc cố định (H.16.2a):
Ròng rọc cố định gồm một bánh xe có rãnh để vắt dây qua, trục của bánh xe được mắc cố định (có móc treo trên xà), do đó khi kéo dây, bánh xe quay quanh trục cố định.
Mô tả các ròng rọc động (H.16.2b):
Ròng rọc gồm một bánh xe có rãnh để vắt dây qua, trục của bánh xe không được mắc cố định, bánh xe có mang theo móc để treo vật, dây kéo có một đầu buộc vào xà. Do đó khi kéo dây, bánh xe vừa quay vừa chuyển động cùng với trục của nó.
II – RÒNG RỌC GIÚP CON NGƯỜI LÀM VIỆC DỄ DÀNG HƠN NHƯ THẾ NÀO?
1. Thí nghiệm
Câu C2 trang 56 VBT Vật Lí 6:
Lời giải:
Bảng 16.1. KẾT QUẢ THÍ NGHIỆM
|
Lực kéo vật lên trong trường hợp |
Chiều của lực kéo |
Cường độ của lực kéo |
|
Không dùng ròng rọc |
Từ dưới lên |
4N |
|
Dùng ròng rọc cố định |
Từ dưới lên |
4N |
|
Dùng ròng rọc động |
Từ trên xuống |
2N |
2. Nhận xét.
Câu C3 trang 56-57 VBT Vật Lí 6:
Lời giải:
a) Chiều của lực kéo vật lên trực tiếp và lực kéo vật qua ròng rọc cố định là khác nhau (ngược chiều nhau).
Cường độ của lực kéo vật lên trực tiếp và lực kéo vật qua ròng rọc cố định là như nhau.
b) Chiều của lực kéo vật lên trực tiếp và lực kéo vật qua ròng rọc động là không thay đổi.
Cường độ của lực kéo vật lên trực tiếp và lực kéo vật qua ròng rọc động là khác nhau, cường độ của lực kéo vật lên trực tiếp lớn hơn cường độ của lực kéo vật qua ròng rọc động.
3. Rút ra kết luận.
Câu C4 trang 57 VBT Vật Lí 6:
Lời giải:
a) Ròng rọc cố định có tác dụng làm đổi hướng của lực kéo so với khi kéo trực tiếp.
b) Dùng ròng rọc động thì lực kéo vật lên nhỏ hơn trọng lượng của vật.
III – VẬN DỤNG
Câu C5 trang 57 VBT Vật Lí 6: Những ví dụ về ròng rọc.
Lời giải:
Tùy học sinh, có thể cho ví dụ: Người thợ xây dùng ròng rọc để kéo vữa hay gạch lên cao để xây nhà.
Câu C6 trang 57 VBT Vật Lí 6: Dùng ròng rọc có lợi gì?
Lời giải:
Dùng ròng rọc cố định có lợi: giúp làm thay đổi hướng của lực kéo (được lợi về hướng).
Dùng ròng rọc động có lợi: được lợi về lực, lực kéo vật nhỏ hơn so với kéo trực tiếp.
Câu C7 trang 57 VBT Vật Lí 6:
Lời giải:
Sử dụng hệ thống ròng rọc ở hình bên phải gồm 2 ròng rọc: 1 ròng rọc động và 1 ròng rọc cố định có lợi hơn về lực. Vì nó giúp làm lực kéo nhỏ hơn trọng lượng của vật nhiều lần.
Ghi nhớ:
- Ròng rọc cố định: giúp làm đổi hướng của lực kéo so với kéo trực tiếp, không có tác dụng thay đổi độ lớn của lực.
- Ròng rọc động giúp làm lực kéo vật lên nhỏ hơn trọng lượng của vật (lợi 2 lần về lực nhưng lại thiệt 2 lần về quãng đường dây dịch chuyển).
B. Giải bài tập
1. Bài tập trong SBT
Bài 16.1 trang 58 VBT Vật Lí 6:

Lời giải:
Ở hình vẽ 16.1, ròng rọc 1 là ròng rọc động, vì khi làm việc, bánh xe của nó vừa quay vừa di chuyển; ròng rọc 2 là ròng rọc cố định, vì khi làm việc, bánh xe của nó quay tại chỗ.
Bài 16.2 trang 58 VBT Vật Lí 6: Trong các câu sau đây, câu nào là không đúng?
A. Ròng rọc cố định có tác dụng làm thay đổi hướng của lực.
B. Ròng rọc cố định có tác dụng làm thay đổi độ lớn của lực.
C. Ròng rọc động có tác dụng làm thay đổi độ lớn của lực.
D. Ròng rọc động có tác dụng làm thay đổi hướng của lực.
Lời giải:
Chọn B.
Vì ròng rọc cố định có tác dụng làm thay đổi hướng của lực còn ròng rọc động giúp làm thay đổi hướng và lực kéo nên đáp án B là không đúng.
Bài 16.3 trang 58 VBT Vật Lí 6: Máy cơ đơn giản nào sau đây không thể làm thay đổi đồng thời cả độ lớn và hướng của lực?
A. Ròng rọc cố định.
B. Ròng rọc động.
C. Mặt phẳng nghiêng.
D. Đòn bẩy.
Lời giải:
Chọn A.
Vì ròng rọc cố định chỉ có thể làm thay đổi hướng của lực kéo chứ không làm thay đổi độ lớn của lực kéo.
2. Bài tập tương tự
Bài 16a trang 58 Vở bài tập Vật Lí 6: Chọn từ thích hợp điền vào chỗ trống:

Lời giải:
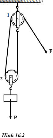
Ở hình 16.2, ròng rọc 1 là ròng rọc cố định, ròng rọc 2 là ròng rọc động.
Bài 16b trang 58 Vở bài tập Vật Lí 6: Máy cơ đơn giản nào chỉ giúp làm thay đổi hướng của lực?
A. Mặt phẳng nghiêng.
B. Đòn bẩy.
C. Ròng rọc cố định.
D. Ròng rọc động.
Lời giải:
Chọn C.
Ròng rọc cố định không cho ta lợi về lực mà có tác dụng làm thay đổi hướng của lực.
Trong chương trình Vật lý 6, các em sẽ được làm quen với Ròng rọc - loại máy cơ đơn giản. Vật lý lớp 6 - Bài 16: Ròng rọc sẽ giúp các em bổ sung thêm các kiến thức mới về ròng rọc, các loại ròng rọc, đặc điểm và ứng dụng trong đời sống...Chúc các em học thật tốt!
Các tài liệu liên quan:
- Giải VBT Vật lý lớp 6 - Bài 14: Mặt phẳng nghiêng
- Giải VBT Vật lý lớp 6 - Bài 15: Đòn bẩy
- Giải VBT Vật lý lớp 6 - Bài 17: Tổng kết chương 1: Cơ học
Trên đây, VnDoc.com đã giới thiệu tới các bạn tài liệu Giải VBT Vật lý lớp 6 - Bài 16: Ròng rọc. Để học tốt môn Vật lý 6, mời các bạn tham khảo thêm Giải bài tập SGK Vật lý 6, Giải bài tập SBT Vật lý 6 và các đề thi học kì 1 lớp 6 môn Vật lý khác.