Bài tập vận dụng quy tắc nắm tay phải và quy tắc bàn tay trái
Chuyên đề Vật lý 9: Bài tập vận dụng quy tắc nắm tay phải và quy tắc bàn tay trái được VnDoc sưu tầm và giới thiệu tới các bạn học sinh cùng quý thầy cô tham khảo. Nội dung tài liệu sẽ giúp các bạn học sinh học tốt môn Vật lý lớp 9 hơn. Mời các bạn tham khảo.
Vật lý 9 bài 30: Bài tập vận dụng quy tắc nắm tay phải và quy tắc bàn tay trái
A. Tóm tắt lý thuyết
1. Áp dụng quy tắc nắm tay phải
Nắm bàn tay phải, rồi đặt sao cho bốn ngón tay hướng theo chiều dòng điện chạy qua các vòng dây thì ngón tay cái choãi ra chỉ chiều của đường sức từ trong lòng ống dây. (chỉ từ cực Bắc của ống dây).
Người ta sử dụng nguyên lí này của cuộn dây để tạo ra các nam châm điện. Có thể làm tăng lực từ của nam châm điện bằng cách tăng cường độ dòng điện chạy qua các dây hoặc tăng số vòng dây.

2. Áp dụng quy tắc bàn tay trái
Đặt bàn tay trái sao cho các đường sức từ hướng vào lòng bàn tay, chiều từ cổ tay đến ngón tay giữa hướng theo chiều dòng điện thì ngón tay cái choãi ra 900 chỉ chiều của lực điện từ.

B. Phương pháp giải bài tập
1. Cách xác định sự định hướng của kim nam châm thử
- Xác định chiều dòng điện trong ống dây.
- Áp dụng quy tắc nắm tay phải để xác định chiều đường sức từ.
- Suy ra định hướng của kim nam châm thử.
2. Xác định sự tương tác giữa hai ống dây có dòng điện
- Áp dụng quy tắc nắm tay phải để xác định chiều đường sức từ khi biết chiều dòng điện.
- Xác định các cực của ống dây từ đó suy ra lực tương tác giữa chúng.
3. Xác định chiều quay của khung dây hay chiều dòng điện trong khung
- Áp dụng quy tắc bàn tay trái để:
Xác định chiều lực từ khi biết chiều dòng điện và chiều của đường sức từ. Từ đó suy ra chiều quay của khung dây.
Xác định chiều lực từ tác dụng lên khung dây khi biết chiều quay của nó.
Xác định chiều dòng điện trong khung khi biết chiều của lực từ và chiều của đường sức từ.
Từ đó suy ra chiều dòng điện trong khung dây dẫn.
B. Bài tập áp dụng quy tắc nắm tay phải và quy tắc bàn tay trái
I. Câu hỏi trắc nghiệm
Câu 1. Quy tắc nào dưới đây được sử dụng để xác định chiều đường sức từ của ống dây khi biết chiều dòng điện?
A. Quy tắc nắm tay phải
B. Quy tắc bàn tay phải
C. Quy tắc nắm bàn tay trái
D. Quy tắc bàn tay trái
Đáp án A
Câu 2. Các đường sức từ ở trong lòng một ống dây có dòng điện một chiều chạy qua có những đặc điểm gì
A. Là những đường thẳng song song, cách đều nhau và vuông góc với trục của ống dây
B. Là những vòng tròn cách đều nhau có tâm nằm trên trục ống dây
C. Là những đường thẳng song song, cách đều nhau và hướng từ cực Bắc đến cực Nam của ống dây
D. Là những đường thẳng song song, cách đều nhau và hướng từ cực Nam đến cực BẮc của ống dây
Đáp án D
Câu 3. Nếu dùng quy tắc nắm tay phải để xác định chiều của từ trường của ống dây có dòng điện chạy qua thì ngón tay cái choãi ra chỉ điều gì?
A. chiều của dòng điện trong ống dây
B. Chiều của lực từ tác dụng lên nam châm thử
C. Chiều của lực từ tác dụng lên cực Bắc của nam châm thử đặt ở ngoài ống dây
D. Chiều của lực từ tác dụng lên cực Bắc của nam châm thử đặt ở trong lòng ống dây
Đáp án D
Câu 4: Một dây dẫn AB có thể trượt tự do trên hai thanh ray dẫn điện MC và ND được đặt trong từ trường mà đường sức từ vuông góc với mặt phẳng MCDN, có chiều đi về phía sau mặt tờ giấy về phía mắt ta. Hỏi thanh AB sẽ chuyển động theo hướng nào?

A. Hướng F2
B. Hướng F4
C. Hướng F1
D. Hướng F3
Áp dụng quy tắc bàn tay trái ⇒ Hướng lực từ theo hướng F1
→ Đáp án C
Câu 5: Cho các trường hợp có lực điện từ tác dụng sau đây:

Các trường hợp có lực điện từ thẳng đứng hướng xuống trên hình vẽ gồm:
A. a B. c, d C. a, b D. Không có
Các trường hợp c và d có lực điện từ hướng xuống phía dưới
→ Đáp án B
Câu 6: Cho các trường hợp có lực điện từ tác dụng sau đây:

Các trường hợp có lực điện từ nằm ngang hướng sang trái trên hình vẽ gồm:
A. c, d
B. a, b
C. a
D. Không có
Trường hợp có lực điện từ nằm ngang hướng sang trái gồm a và b
→ Đáp án B
Câu 7: Quan sát hình vẽ

Hãy cho biết chiều dòng điện và chiều của lực điện từ tác dụng lên đoạn dây dẫn CD đúng với hình nào trong các hình a, b, c hay d.
A. Hình d
B. Hình a
C. Hình c
D. Hình b
Áp dụng quy tắc bàn tay trái với dây CD với chiều dòng điện từ C đến D ⇒ Chiều của lực từ hướng lên => Hình c
→ Đáp án C
Câu 8: Cho các trường hợp có lực điện từ tác dụng sau đây:

Các trường hợp có lực điện từ nằm ngang hướng sang phải trên hình vẽ gồm:
A. Không có
B. c, d
C. a
D. a, b
Không có trường hợp nào hướng sang phải vì
a, b: Lực điện từ hướng sang trái.
c, d: Lực điện từ hướng xuống dưới.
→ Đáp án A
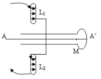
Câu 9: Mặt cắt thẳng đứng của một đèn hình trong máy thu hình được vẽ như trong hình vẽ. Tia AA' tượng trưng cho chùm electron đến đập vào màn huỳnh quang M, các ống dây L1, L2 dùng để lái chùm tia electron theo phương nằm ngang. Hỏi đường sức từ trong các ống dây L1, L2 sẽ hướng như thế nào?

A. Từ L1 đến L2
B. Từ L2 đến L1
C. Trong L1 hướng từ dưới lên và từ trên xuống trong L2
D. Trong L1 hướng từ trên xuống và từ dưới lên trong L2
Áp dụng quy tắc nắm tay phải ⇒ Chiều cảm ứng từ có chiều từ L1 đến L2
→ Đáp án A
Câu 10: Cho các trường hợp tác dụng của lực điện từ lên một đoạn dây dẫn có dòng điện chạy qua như hình vẽ sau:

Các trường hợp có dòng điện chạy xuyên vào mặt phẳng tờ giấy gồm:
A. a, b, c
B. a, b
C. a
D. Không có
Cả 3 trường hợp dòng điện chạy ra khỏi mặt phẳng tờ giấy
→ Đáp án D
Câu 11: Cho các trường hợp có lực điện từ tác dụng sau đây:

Các trường hợp có lực điện từ thẳng đứng hướng lên trên hình vẽ gồm:
A. a, b
B. c, d
C. a
D. Không có
Trong 4 hình vẽ không có hình vẽ nào mà có lực điện từ hướng lên trên
→ Đáp án D
Câu 12: Cho các trường hợp của lực điện từ tác dụng lên dây dẫn có dòng điện chạy qua như hình vẽ:

Các trường hợp có cực Bắc (N) ở phía bên phải gồm?
A. a, b
B. Không có
C. a
D. c, d
Các trường hợp có cực Bắc (N) ở phía bên phải gồm : c và d
→ Đáp án D
Câu 13: Mặt cắt thẳng đứng của một đèn hình trong máy thu hình được vẽ như trong hình vẽ. Tia AA' tượng trưng cho chùm electron đến đập vào màn huỳnh quang M, các ống dây L1, L2 dùng để lái chùm tia electron theo phương nằm ngang. Chùm tia electron chuyển động từ A đến A' thì lực điện từ tác dụng lên các electron có chiều như thế nào?

A. Từ trên xuống dưới trong mặt phẳng tờ giấy.
B. Thẳng góc với mặt phẳng tờ giấy và từ trước ra sau.
C. Từ dưới lên trên trong mặt phẳng tờ giấy.
D. Thẳng góc với mặt phẳng tờ giấy và từ sau ra trước.
Chiều dòng điện ngược chiều với chiều chuyển động của các electron tức là từ A' đến A ⇒ Áp dụng quy tắc bàn tay trái ⇒ Chiều lực từ thẳng góc với mặt phẳng tờ giấy và từ sau ra trước
→ Đáp án D
II. Câu hỏi bài tập tự luận
Bài 1: Cuộn dây của một nam châm điện được nối với nguồn điện mà tên các cực từ của nam châm điện được ghi trên hình. Hãy xác định các cực của nguồn điện.

Đáp án: A là cực Bắc, B là cực Nam.
Bài 3: Cuộn dây của một nam châm điện được nối với một nguồn điện. Hãy cho biết A là cực âm hay dương của nguồn điện để từ cực của nam châm như hình vẽ.

Đáp án: Nếu dòng điện chạy trong hai ống dây ngược chiều thì hai mặt gần nhau của hai ống dây tương ứng với hai cực từ cùng tên, khi đó hai ống dây sẽ đẩy nhau.
Bài 5: Có thể áp dụng quy tắc nắm tay phải cho trường hợp một vòng dây có dòng điện chạy qua không? Vòng dây (C) bị hút về phía nam châm như hình vẽ. Hãy xác định chiều dòng điện trong vòng dây (coi đường vẽ nét đứt là nửa vòng dây phía sau).

Bài 6: Xác định tên các cực từ ở hai đầu M và N của ống dây trong hình vẽ dưới đây

Đáp án: Có thể khẳng định những chiếc ghim đã trở thành nam châm vì chúng được đặt trong từ trường của thanh nam châm. Các cực từ khác tên thì hút nhau, ta có thể viết tên cực từ của các nam châm như hình vẽ:

Ngoài Bài tập vận dụng quy tắc nắm tay phải và quy tắc bàn tay trái, mời các bạn tham khảo thêm Vật lý lớp 9, Giải bài tập Vật Lí 9, Giải VBT Vật lý 9, Trắc nghiệm Vật lý 9 được cập nhật liên tục trên VnDoc.