Bài tập biến thiên cơ năng Vật lý 10 có lời giải chi tiết
Bài tập biến thiên cơ năng lớp 10 có đáp án
Trong chương Các định luật bảo toàn – Vật lý 10, dạng bài tập biến thiên cơ năng giúp học sinh hiểu rõ vai trò của lực không bảo toàn (ma sát, lực cản) trong quá trình chuyển hóa năng lượng. Đây là dạng bài quan trọng, thường xuất hiện trong đề kiểm tra và đề thi học kì.
Bài viết tổng hợp bài tập biến thiên cơ năng Vật lý 10 có lời giải chi tiết, giúp học sinh nắm chắc phương pháp và tránh sai sót khi làm bài.
A. Phương pháp giải
- Chọn mốc thế năng
- Theo định luật bảo toàn năng lượng: Tổng năng lượng ban đầu bằng tổng năng lượng lúc sau
+ Năng lượng ban đầu gồm cơ năng của vật
+ Năng lượng lúc sau là tổng cơ năng và công mất đi của vật do ma sát
- Xác định giá trị
- Hiệu suất ![]()
+
công có ích +
công toàn phần
+
công suất thực hiện +
công suất toàn phần
B. Bài tập ví dụ minh họa biến thiên cơ năng
Ví dụ 1: Vật trượt không vận tốc đầu trên máng nghiêng một góc
với AH =1m.

Sau đó trượt tiếp trên mặt phẳng nằm ngang BC = 50cm và mặt phẳng nghiêng DC một góc
biết hệ số ma sát giữa vật và 3 mặt phẳng là như nhau và bằng
. Tính độ cao DI mà vật lên được.
Hướng dẫn giải
Chọn mốc thế năng tại mặt nằm ngang BC
Theo định luật bảo toàn năng lượng ![]()
Mà
; ![]()
![]()
![]()
![]()
![]()
Vậy ![]()
![]()
Ví dụ 2: Một vật trượt từ đỉnh của mặt phẳng nghiêng nghiêng AB, sau đó tiếp tục trượt trên mặt phẳng AB, sau đó tiếp tục trượt trên mặt phẳng nằm ngang BC như hình vẽ với AH= 0,1m, BH = 0,6m.

Hệ số ma sát trượt giữa vật và hai mặt phẳng là ![]()
a. Tính vận tốc của vật khi đến B.
b. Quãng đường vật trượt được trên mặt phẳng ngang.
Hướng dẫn giải
Chọn mốc thế năng tại mặt nằm ngang BC
a. Ta có ![]()
Mà ![]()
![]()
![]()
Theo định luật bảo toàn năng lượng ![]()
![]()
b. Theo định luật bảo toàn năng lượng ![]()
Mà ![]()
![]()
![]()
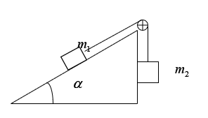
Ví dụ 3: Hai vật có khối lượng
được nối với nhau bằng dây ko dãn như hình vẽ, lúc đầu hai vật đứng yên. Khi thả ra vật hai chuyển động được 1m thì vận tốc của nó là bao nhiêu?

Biết
trượt trên mặt phẳng nghiêng góc
so với phương nằm ngang với hệ số ma sát trượt là ![]()
Hướng dẫn giải
Ta có ![]()
![]()
Vậy
vật hai đi xuống vật một đi lên, khi vật hai đi xuống được một đoạn s = 1m thì vật một lên cao ![]()
Chọn vị trí ban đầu của hai vật là mốc thế năng
Theo định luật bảo toàn năng lượng: ![]()
Với ![]()
![]()
![]()
Vậy ![]()
📚 Phần tiếp theo của tài liệu đã được tổng hợp trong file đính kèm, mời bạn tải về để đọc tiếp.
------------------------------------------------------------------
Việc luyện tập bài tập biến thiên cơ năng Vật lý 10 sẽ giúp học sinh phân biệt rõ trường hợp bảo toàn và không bảo toàn cơ năng, từ đó nâng cao kỹ năng giải bài và đạt kết quả tốt trong các bài kiểm tra.