1
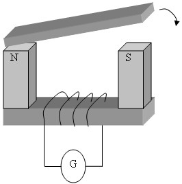
Quấn quanh phần ngang của một nam châm móng ngựa một sợi dây dẫn bằng đồng, nối hai đầu dây với điện kế G, dùng một ngàm sắt non bịt hai cực của nam châm. Những trường hợp nào sau đây kim điện kế G không bị lệch?

Đề kiểm tra 15 phút môn Vật lý lớp 9 bài 31 gồm các câu hỏi bài tập trắc nghiệm Lý 9 do VnDoc biên soạn và đăng tải, giúp học sinh làm quen và nâng cao kết quả học lớp 9.
Đề kiểm tra 15 phút môn Vật lý lớp 9 kèm câu trả lời được biên soạn bám sát kiến thức trọng tâm về Hiện tượng cảm ứng điện từ theo chương trình học SGK lớp 9, giúp cho các bạn củng cố lại bài học.
Điểm khả dụng: 0 điểm
Bạn sẽ dùng 50 điểm để đổi lấy 1 lượt làm bài.
Bạn không đủ điểm để đổi.
1
Quấn quanh phần ngang của một nam châm móng ngựa một sợi dây dẫn bằng đồng, nối hai đầu dây với điện kế G, dùng một ngàm sắt non bịt hai cực của nam châm. Những trường hợp nào sau đây kim điện kế G không bị lệch?

2
Hiện tượng cảm ứng điện từ xuất hiện trong trường hợp nào dưới đây?3
Hình vẽ sau cho thấy sự xuất hiện của dòng điện cảm ứng trong dây dẫn (Kim ampe kế bị lệch). Mũi tên cho biết chiều dịch chuyển của thanh MN. Hãy chọn phương án đúng?

4
Quan sát hình vẽ và cho biết khi nào kim của ampe kế sẽ bị lệch (Tức là xuất hiện dòng điện cảm ứng)?
Chọn trường hợp đúng trong các trường hợp sau:

5
Hình vẽ sau cho thấy không có dòng điện cảm ứng trong dây dẫn (Kim ampe kế không bị lệch). Mũi tên cho biết chiều dịch chuyển của thanh nam châm. Hãy chọn phương án đúng?

6
Một ống dây dẫn được mắc với điện kế G để nhận biết dòng điện và một thanh nam châm. Trong những trường hợp nào sau đây, kim điện kế G bị lệch?

7
Bố trí hao ống dây 1 và 2 đứng yên cạnh nhau như hình vẽ. Với K là ngắt điện, R là biến trở trong những trường hợp nào sau đây, điện kế G bị lệch?

8
Hình vẽ sau cho thấy sự xuất hiện của dòng điện cảm ứng trong vòng dây hoặc trong ống dây. Mũi tên cho biết chiều dịch chuyển của ống dây. Hãy chọn phương án đúng?

9
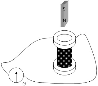
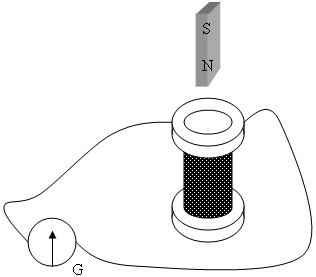
Với thí nghiệm được bố trí như hình 1, dòng điện cảm ứng xuất hiện ở cuộn dây dẫn kín trong trường hợp nào dưới đây?

10
Một ống dây dẫn được mắc với điện kế G để nhận biết dòng điện và một thanh nam châm. Trong những trường hợp nào sau đây, kim điện kế G không bị lệch?

Theo Nghị định 147/2024/ND-CP, bạn cần xác thực tài khoản trước khi sử dụng tính năng này. Chúng tôi sẽ gửi mã xác thực qua SMS hoặc Zalo tới số điện thoại mà bạn nhập dưới đây: