Cách bấm máy tính Casio tính thể tích khối tròn xoay bằng tích phân
Bấm máy tính Casio tính thể tích khối tròn xoay
Trong chương trình Toán lớp 12, dạng bài tính thể tích khối tròn xoay bằng tích phân là một chủ đề quan trọng, thường xuyên xuất hiện trong đề thi THPT Quốc gia. Tuy nhiên, nhiều học sinh vẫn gặp khó khăn trong việc giải nhanh và chính xác dạng bài này. Bài viết này sẽ hướng dẫn bạn cách bấm máy tính Casio (570VN Plus, FX-580VN X...) để tính thể tích khối tròn xoay, giúp tiết kiệm thời gian và tránh sai sót khi làm bài thi trắc nghiệm. Cùng tìm hiểu ngay mẹo cực hay này!
A. Cách bấm máy tính tích phân thể tích
Dạng 1. Cho hình (H) giới hạn bởi đồ thị của các hàm số y = f(x), y = g(x), x = a; x = b quay quanh trục Ox tạo thành vật thể khối tròn xoay có thể tích bằng
![]()
Hình vẽ minh họa bài toán:

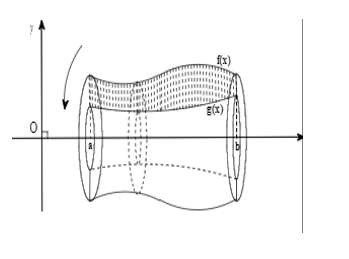
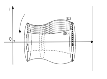
Dạng 2. Cho hình (H) giới hạn bởi đồ thị của các hàm số x = f(y); x = g(y), y = a; y = b quay quanh trục Oy tạo thành vật thể khối tròn xoay có thể tích bằng
![]()
Hình vẽ minh họa bài toán:

Chú ý: Nếu đề bài không có cho hai giả thiết x = a; x = b (hay y = a; y = b) thì trước khi áp dụng công thức
(
) ta phải tìm hai cận của tích phân bằng cách giải phương trình giao điểm f(x) = g(x) (hoặc f(y) = g(y)).
Mở rộng:

Bước 1: Tìm các giao điểm a, b, c là nghiệm của các phương trình f(x) = h(x); f(x) = g(x) và g(x) = h(x).
Bước 2: Áp dụng công thức
![]()
B. Bài tập tính thể tích khối tròn xoay bằng máy tính cầm tay
Bài toán 1: Tính thể tích vật thể khối tròn xoay được tạo thành khi quay hình (H) giới hạn bởi đồ thị hàm số
, trục hoành, x = 0 và
quanh trục Ox.
A.1 B.
C.
D. ![]()
Hướng dẫn giải
Công thức tính thể tích ![]()
Sử dụng máy tính CASIO fx-580VN X để tính tích phân trên

Đáp án: D
Bài toán 2: Cho miền D giới hạn bởi hai đồ thị y = 4 - x2 và y = x2 + 2. Tính thể tích khối tròn xoay được tạo nên do D quay quanh trục Ox.
C.
B.
C.
D. ![]()
Cách bấm máy tính tích phân thể tích
Nhận xét: Vì đề bài không cho hai cận của tích phân do đó đầu tiên chúng ta phải tìm hoành độ giao điểm của hai hàm số đã cho
Dùng máy tính CASIO fx-580VN X để tìm nghiệm của phương trình: 4 - x2 = x2 + 2.

Công thức: ![]()

Sử dụng máy tính CASIO fx-580VN X để tính tích phân trên

Bài toán 3: Cho miền D giới hạn bởi hai đồ thị y = x2; y = 4x2 và y = 4. Tính thể tích khối tròn xoay được tạo nên do D quay quanh trục Oy (như hình)

A.
B.
C.
D. ![]()
Hướng dẫn giải
Chuyển đổi hàm số:
và ![]()
Nhận xét ta có đồ thị y = x2 và y = 4x2 giao nhau tại O.
Do đó ta có 
Sử dụng máy tính CASIO fx-580VN X để tính tích phân trên

Đáp án: C
Nhận xét: Đối với một số biểu thức đơn giản ta có thể khai triển để việc bấm máy trở nên nhanh và dễ dàng hơn
Bài toán 4. Cho miền D giới hạn bởi đồ thị (C): y = x2 + 1; (x ≥ 0) và hai đường thẳng y = -3x + 11; y = 2. Tính thể tích khối tròn xoay được tạo nên do D quay quanh trục Ox
Hướng dẫn giải
Hình vẽ minh họa cho bài toán:

Tìm giao điểm của các đồ thị
- x2 + 1 = 2 => x = 1 (vì x > 0).

- -3x + 11 = 2 => x = 3.
- x2 + 1 = -3x + 11 => x = 2 (vì x = -5 < 0)
Công thức tính thể tích:
![]()
Sử dụng máy tính CASIO fx-580VN X để tính tích phân trên

------------------------------------
Nắm vững cách bấm máy tính Casio để tính thể tích khối tròn xoay bằng tích phân không chỉ giúp bạn tiết kiệm thời gian làm bài mà còn nâng cao độ chính xác trong các câu hỏi vận dụng – vận dụng cao của đề thi THPT Quốc gia. Khi kết hợp thành thạo kỹ năng này với kiến thức nguyên hàm – tích phân trong Chuyên đề Toán 12, bạn sẽ có lợi thế rõ rệt trong phòng thi.
Với hướng dẫn chi tiết trên, bạn đã biết cách sử dụng máy tính Casio để tính thể tích khối tròn xoay bằng tích phân một cách đơn giản và nhanh gọn. Đây là một kỹ năng không thể thiếu cho học sinh lớp 12 đang ôn thi THPT Quốc gia. Đừng quên luyện tập thêm nhiều ví dụ để làm chủ dạng toán này và nâng cao tốc độ làm bài. Chúc bạn học tốt và đạt điểm cao trong kỳ thi sắp tới!