Đề thi thử THPT Quốc gia 2024 môn Toán lần 1 liên trường THPT Ninh Bình
Thi THPT Quốc gia 2024
Lớp:
THPT Quốc gia
Môn:
Toán
Dạng tài liệu:
Đề thi
Loại:
Tài liệu Lẻ
Loại File:
PDF
Phân loại:
Tài liệu Tính phí

Mã đề 001 Trang 1/7
SỞ GDĐT NINH BÌNH
LIÊN TRƯỜNG THPT
(Đề thi gồm 07 trang)
ĐỀ THI THỬ TỐT NGHIỆP THPT NĂM 2024 (LẦN 1)
Bài thi: TOÁN
Thời gian làm bài: 90 phút.
Mã đề 001
Họ và tên thí sinh: ........................................................................
Số báo danh: .................................................................................
Câu 1. Cho hai số phức
12
2 3, 1 4z iz i= + =−−
. Phần thực của số phức
12
2zz+
là
A.
5
. B.
2
. C.
10
. D.
3
.
Câu 2. Số phức liên hợp của
12
zi
= −
là:
A.
2.zi= −
B.
1 2.zi=−+
C.
1 2.
zi=−−
D.
1 2.
zi= +
Câu 3. Cho hàm số
( )
y fx
=
liên tục trên khoảng
(
)
;−∞ +∞
, có bảng biến thiên như hình vẽ
Có bao nhiêu giá trị nguyên dương của tham số
m
để phương trình
(
)
20
fx m+=
có đúng
3
nghiệm phân biệt?
A.
11.
B.
7.
C.
8.
D.
13.
Câu 4. Trong không gian với hệ trục tọa độ
Oxyz
, cho hai véctơ
( )
2; 3; 1
u = −
và
( )
5; 4;vm= −
. Tìm
m
để
uv
⊥
.
A.
2.m = −
B.
2.m =
. C.
4.m =
D.
0.m =
Câu 5. Cho khối lăng trụ có diện tích đáy
8
B =
và chiều cao
6.h =
Thể tích của khối lăng trụ đã cho
bằng
A.
16⋅
B.
144
⋅
C.
48⋅
D.
288⋅
Câu 6. Cho hình chóp
.S ABCD
có đáy
ABCD
là hình vuông cạnh
a
, cạnh bên
2SA a=
và vuông góc
với mặt phẳng đáy. Thể tích khối chóp
.S ABCD
bằng:
A.
3
2a ⋅
B.
3
4
3
a
⋅
C.
3
2
3
a
⋅
D.
3
4a ⋅
Câu 7. Giả sử
( )
9
0
d 37fxx=
∫
và
( )
9
0
d 16gx x=
∫
. Khi đó
( )
( )
9
0
2 3dI f x gx x=+
∫
bằng:
A.
122I =
. B.
26I =
. C.
143I =
. D.
58I =
.
Câu 8. Cho hình nón có bán kính đáy bằng
a
, chiều cao bằng
2a
. Diện tích xung quanh hình nón đã cho
bằng:
A.
2
25
π
a
. B.
2
2a
. C.
2
5
π
a
. D.
2
5a
.
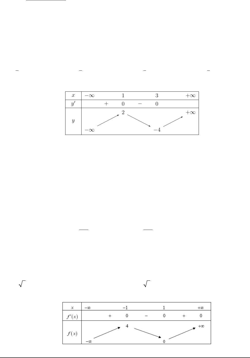
Câu 9. Cho hàm số
( )
y fx=
có bảng biến thiên như sau:
Hàm số đã cho nghịch biến trên khoảng nào dưới đây?

Mã đề 001 Trang 2/7
A.
( )
0; 4 ⋅
B.
( )
0; 2 ⋅
C.
(
)
1;1
−⋅
D.
( )
;1−∞ − ⋅
Câu 10. Trong không gian với hệ toạ độ
Oxyz
, cho mặt phẳng
( )
:2 2 3 0P x yz+ −−=
và điểm
( )
1;2; 3I −
. Mặt cầu
( )
S
tâm
I
và tiếp xúc
( )
P
có phương trình:
A.
( ) ( ) ( ) ( )
2 22
: 1 2 3 16Sx y z− +− ++ =
. B.
( ) ( ) ( ) ( )
2 22
:1 2 34Sx y z− +− ++ =
.
C.
( ) (
) (
) ( )
2 22
:1 2 32Sx y z− +− ++ =
. D.
( ) ( ) ( ) (
)
2 22
:1 2 34Sx y z+ ++ +− =
.
Câu 11. Có bao nhiêu tập hợp con có 3 phần tử của tập hợp có 6 phần tử?
A.
720
. B.
120
. C.
20
. D.
216
.
Câu 12. Cho dãy số
(
)
n
u
thỏa mãn
1
2u
=
,
1
3
nn
uu
+
=
,
*
n∀∈
. Giá trị của
3
u
bằng
A.
6
. B.
3
2
. C.
18
. D.
12
.
Câu 13. Cho hàm số
( )
y fx=
liên tục trên
và có bảng xét dấu của đạo hàm như hình vẽ.
Hàm số
( )
y fx=
có bao nhiêu điểm cực trị?
A.
4
. B.
2
. C.
3
. D.
1
.
Câu 14. Trong không gian với hệ toạ độ
Oxyz
, cho điểm
( )
2; 3;1M −
và mặt phẳng
(
)
: 3 20x yz
α
+ −+=
. Đường thẳng
d
đi qua điểm
M
và vuông góc với mặt phẳng
( )
α
có
phương trình tham số là:
A.
2
: 33
1
xt
dy t
zt
= +
=−+
= +
. B.
2
: 33
1
xt
dy t
zt
= −
=−−
= +
. C.
2
: 33
1
xt
dy t
zt
= +
=−−
= −
. D.
12
: 33
1
xt
dy t
zt
= +
= −
=−+
.
Câu 15. Cho hàm số
( )
y fx=
xác định trên
{ }
\1−
và có bảng biến thiên như hình vẽ:
Tổng số đường tiệm cận đứng và tiệm cận ngang của đồ thị hàm số đã cho là:
A.
2
. B.
0
. C.
3
. D.
1
.
Câu 16. Trong không gian
Oxyz
, cho mặt cầu
( )
S
có tâm
(
)
1; 2; 1I
−−
và bán kính
2R =
. Phương trình
của
( )
S
là
A.
( ) ( ) ( )
2 22
1 2 12xy z− +− ++ =
. B.
( ) ( ) ( )
2 22
1 2 12xy z+ ++ +− =
.
C.
( ) ( ) ( )
2 22
1 2 14xy z− +− ++ =
. D.
( ) ( ) ( )
2 22
1 2 14xy z+ ++ +− =
.
Câu 17. Tập nghiệm của bất phương trình
2
3 27
x
<
là
A.
3
;
2
−∞
. B.
3
;
2
+∞
. C.
( ; 2)−∞
. D.
3
0;
2
.
Câu 18. Cho hình trụ có chiều cao bằng
3
và đường kính đáy bằng
8
. Diện tích xung quanh của hình trụ
đã cho bằng
A.
24
π
. B.
48
π
. C.
56
π
. D.
16
π
.
+
x
y'
y
1
1
+
+
0
∞
∞
2
4
∞
3
1

Mã đề 001 Trang 3/7
Câu 19. Tiệm cận đứng của đồ thị hàm số
31
2
x
y
x
−
=
−
có phương trình là
A.
3x =
. B.
2x
= −
. C.
2x =
. D.
1
2
x =
.
Câu 20. Cho số phức
z
thỏa mãn
( )
2
32 4zz i+=−
. Mô đun của số phức
z
là:
A.
73
. B.
8
. C.
73
. D.
64
.
Câu 21. Trên mặt phẳng tọa độ, biết tập hợp điểm biểu diễn sồ phức
z
thỏa mãn
12 1zi−+ =
là một
đường tròn. Tâm của đường tròn đó có tọa độ là.
A.
( )
2;1−
. B.
( )
2;1
. C.
( )
1; 2−
. D.
( )
1; 2
.
Câu 22. Cho hàm số
( )
fx
liên tục trên
. Biết hàm số
( )
Fx
là một nguyên hàm của
( )
fx
trên
và
( )
(
)
2 12, 4 6.
FF
= =
Tích phân
(
)
4
2
f x dx
∫
bằng
A.
6
. B.
2
. C.
18
. D.
6−
.
Câu 23. Nghiệm của phương trình
3
log ( 1) 2x +=
là
A.
2
. B.
8
. C.
7
. D.
5
.
Câu 24. Trong không gian
Oxyz
, cho điểm
( )
1; 2; 3A −
. Điểm đối xứng với
A
qua mặt phẳng
( )
Oxy
có
tọa độ là
A.
( )
1; 2; 3 .−
B.
( )
1;2;3.−−
C.
( )
1;2;3.−−−
D.
( )
1; 2; 3 .−−
Câu 25. Người ta xếp hai quả cầu có cùng bán kính
r
vào một chiếc hộp hình trụ sao cho các quả cầu
đều tiếp xúc với hai đáy, đồng thời hai quả cầu tiếp xúc với nhau và mỗi quả cầu đều tiếp xúc
với đường sinh của hình trụ (tham khảo hình vẽ). Biết diện tích xung quanh của hình trụ là
72
π
, thể tích của mỗi khối cầu là (kết quả làm tròn đến hàng phần mười).
A.
3
320cm
. B.
3
319,9cm
. C.
3
113,2cm
. D.
3
113,1cm
.
Câu 26. Cho số thực dương
x
. Rút gọn biểu thức
23
Pxx
−
=
ta được
A.
1
2
Px
−
=
. B.
1
2
Px=
. C.
Px=
. D.
1
Px
−
=
.
Câu 27. Đường cong trong hình vẽ bên là đồ thị của hàm số nào dưới đây?
Đề thi thử tốt nghiệp THPT Quốc gia 2024 môn Toán lần 1 liên trường THPT Ninh Bình
Đề thi thử THPT Quốc gia 2024 môn Toán lần 1 liên trường THPT Ninh Bình được VnDoc.com sưu tầm và xin gửi tới bạn đọc cùng tham khảo. Bài viết được tổng hợp gồm có 2 mã đề thi. Mỗi đề thi gồm có 50 câu hỏi trắc nghiệm, thí sinh làm bài trong thời gian 90 phút. Đề có đáp án và lời giải chi tiết kèm theo. Mời các bạn cùng theo dõi và tham khảo thêm nhiều đề thi các môn tại mục Thi THPT Quốc gia nhé.