Đề thi thử THPT Quốc gia năm 2023 môn Toán lần 1 Sở GD&ĐT Lạng Sơn
Đề thi thử tốt nghiệp THPT 2023
Loại File:
PDF
Phân loại:
Tài liệu Tính phí

SỞ GIÁO
DỤC VÀ ĐÀO TẠO
TỈNH LẠNG SƠN
Câu 1: Trong không gian , cho mặt cầu . Tâm của có
Oxyz
2 2 2
: 1 2 3 16S x y z
I
S
tọa độ là
A. . B. . C. . D. .
1;2;3
1; 2;3
1;2; 3
1; 2; 3
Câu 2: Họ nguyên hàm của hàm số là
cosf x x
A. . B. . C. . D. .
sin x C
cos x C
cos x C
sin x C
Câu 3: Phương trình có nghiệm là
2 3
2 4
x
A. . B. . C. . D. .
1x
8x
4.x
5x
Câu 4: Cho hình trụ có bán kính đáy và độ dài đường sinh . Diện tích xung quanh của hình
7r
3l
trụ đã cho bằng:
A. . B. . C. . D. .
21
49
42
147
Câu 5: Hàm số nào dưới đây có bảng biến thiên như sau
A. . B. . C. . D. .
4 2
2 1y x x
4 2
2 1y x x
3 2
3 1y x x
3 2
3 1y x x
Câu 6: Cho hàm số có đồ thị trong hình bên.
y f x
Số nghiệm của phương trình là
2 0f x
A. . B. . C. . D. .
2
1
3
3
Câu 7: Cho hình lăng trụ có đáy là hình vuông cạnh , và
.ABCD A B C D
ABCD
a
AA ABCD
. Thể tích khối lăng trụ đã cho bằng
3AA a
A. . B. . C. . D. .
3
3
4
a
3
2a
3
a
3
3a
Câu 8: Với số thực tùy ý, giá trị của bằng
0a
2
log 8a
A. . B. . C. . D. .
2
4 log a
2
4 log a
2
3 log a
2
3 log a
Câu 9: Cho hình nón có bán kính bằng , chiều cao bằng . Thể tích của khối nón đã cho bằng
3
4
A. . B. . C. . D. 12.
48
48
12
Câu 10: Tập xác định của hàm số là
4
logy x
A. . B. . C. . D. .
;
0;
;0
0;
ĐỀ THI THỬ TỐT NGHIỆP THPT LẦN 1
NĂM HỌC 2022 - 2023 | MÔN TOÁN
Thời gian làm bài: 90 phút (không kể thời gian phát đề)

Câu 11: bằng
2 3
lim
1
n
n
A. . B. . C. . D. 2.
3
3
2
1
Câu 12: Họ nguyên hàm của hàm số là
2
3f x x
A. . B. . C. . D. .
2x C+
3
3
3
x
x C+ +
3
3x x C+ +
2
3x x C+ +
Câu 13: Cho khối lăng trụ có thể tích bằng . Biết diện tích đáy của lăng trụ là , chiều cao của khối
V
B
lăng trụ đã cho bằng
A. . B. . C. . D. .
V
B
3V
B
3
V
B
2V
B
Câu 14: Cho hàm số . Giá trị bằng
( ) 2 3f x x
2
0
( )df x x
A. . B. . C. . D. .
2
4
2
4
Câu 15: Cho hàm số có đồ thị trong hình bên. Hàm số đã cho đạt cực đại tại
( )y f x
A. . B. . C. . D. .
1x
0x
1x
3x
Câu 16: Trên khoảng , đạo hàm của hàm số là
(0; )
4
3
y x
A. . B. . C. . D. .
7
3
3
7
y x
1
3
4
3
y x
1
3
3
4
y x
1
3
4
3
y x
Câu 17: Cho hàm số có bảng biến thiên như sau:
y f x
Số đường tiệm cận của đồ thị hàm số là
A. . B. . C. . D. .
2
1
4
3
Câu 18: Hàm số nào dưới đây có dạng đồ thị như hình bên?
A. . B. .
3
3 2y x x
3
3 2y x x
C. . D. .
4 2
2 2y x x
4 2
2 2y x x

Câu 19: Cho hàm số có bảng biến thiên như sau:
f x
Hàm số đạt cực tiểu tại điểm
A. . B. . C. . D. .
3x
2x
2x
1x
Câu 20: Tập xác định của hàm số là
7
x
y
A. . B. . C. . D. .
0;
0;
\ 0
Câu 21: Cho khối chóp có diện tích đáy và chiều cao . Thể tích khối chóp đã cho bằng
3B
2
A. . B. . C. . D. .
2
6
3
12
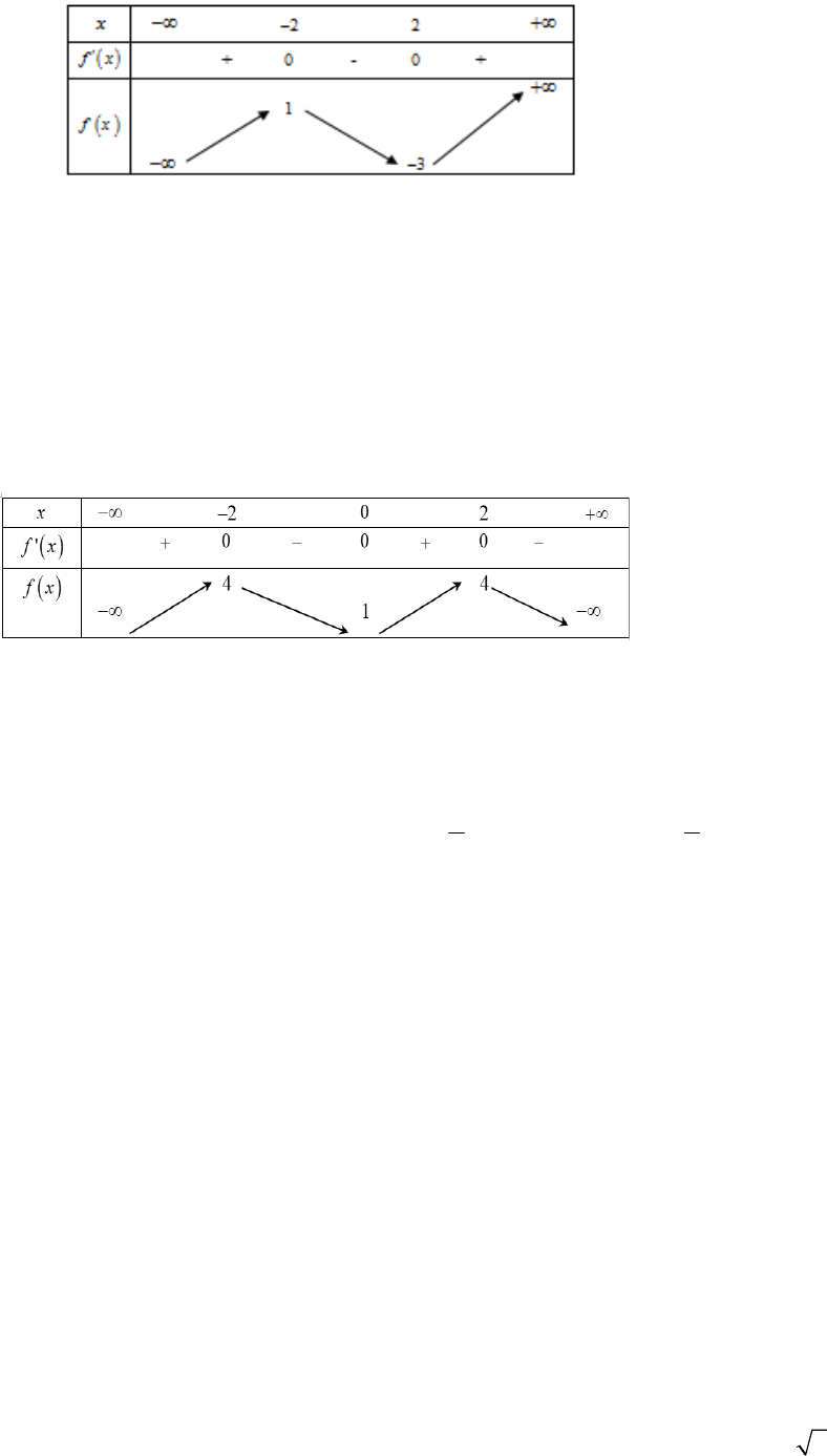
Câu 22: Cho hàm số có bảng biến thiên như sau:
f x
Hàm số đã cho đồng biến trên khoảng nào dưới đây?
A. . B. . C. . D. .
0;1
1;
1;0
1;1
Câu 23: Nghiệm của phương trình là?
2
log 2 3x
A. . B. . C. . D. .
3x
4x
9
2
x
5
2
x
Câu 24: Trong không gian , cho hai vecto và . Vecto có tọa độ
Oxyz
1
1; 2;1u
2
1; 1; 1u
1 2
2u u
là?
A. . B. . C. . D. .
3; 4;1
3;0; 1
3;0;1
3; 4; 1
Câu 25: Có bao nhiêu các xếp bạn vào một dãy ghế có chỗ ngồi?
3
5
A. . B. . C. . D. .
10
60
120
6
Câu 26: Cho mặt cầu có đường kính bằng . Diện tích của mặt cầu đã cho bằng
6
A. . B. . C. . D.
144
36
9
12
Câu 27: Nếu và thì bằng
1
0
d 4f x x
3
1
d 3f x x
3
0
df x x
A. . B. . C. . D.
12
1
7
1
Câu 28: Trong không gian , vectơ nào dưới đây là một vectơ pháp tuyến của mặt phẳng
Oxyz
:2 3 1 0?P x y z
A. . B. . C. . D. .
1
2; 3;1n
2
2; 3; 1n
3
2; 3; 1n
4
2;3; 1n
Câu 29: Cho hình chóp có đáy là hình vuông cạnh , và .
.S ABCD
( )ABCD
a
( )SA ABCD
2SA a
Góc giữa và mặt phẳng bằng
SC
( )ABCD
A. . B. . C. . D. .
90
30
45
60
Đề thi thử tốt nghiệp THPT Quốc gia năm 2023 môn Toán lần 1 Sở GD&ĐT Lạng Sơn
Đề thi thử THPT Quốc gia năm 2023 môn Toán lần 1 Sở GD&ĐT Lạng Sơn được VnDoc.com sưu tầm và xin gửi tới bạn đọc cùng tham khảo. Đề thi được tổng hợp gồm có 50 câu hỏi trắc nghiệm có đáp án kèm theo. Thí sinh làm bài trong thời gian 90 phút. Mời các bạn cùng theo dõi và làm bài đề thi dưới đây nhé.
Ngoài ra để giúp bạn đọc có thêm tài liệu học tập hơn nữa, VnDoc.com mời bạn đọc cùng tham khảo thêm mục Thi THPT Quốc gia 2023.