Vở bài tập Toán lớp 5 bài 104 Hình hộp chữ nhật. Hình lập phương
Vở bài tập Toán lớp 5 bài 104
Giải vở bài tập Toán 5 bài 104: Hình hộp chữ nhật. Hình lập phương trang 22, 23. Lời giải Vở bài tập Toán 5 này có đáp án chi tiết cho các bài tập cho các em học sinh tham khảo nắm được các đặc điểm, yếu tố của hình chữ nhật, hình lập phương. Mời các em cùng tham khảo chi tiết.
Bài tập Toán lớp 5 bài 104 là Hướng dẫn giải vở bài tập Toán lớp 5 tập 2 trang 22, 23. Lời giải bao gồm các câu hỏi có đáp án chi tiết cho từng câu để các em học sinh so sánh đối chiếu với bài làm của mình. Các bậc Phụ huynh cùng tham khảo hướng dẫn con em học tập ôn luyện, củng cố tại nhà.
Vở bài tập toán lớp 5 tập 2 bài 104 Câu 1
Viết số thích hợp vào chỗ chấm:
a. Hình hộp chữ nhật có :…..... mặt, ……… cạnh, ……… đỉnh.
b. Hình lập phương có : ……… mặt, ………. cạnh, ………. đỉnh.
Phương pháp giải:
Xem lại lý thuyết về hình hộp chữ nhật và hình lập phương.
Đáp án
a. Hình hộp chữ nhật có: 6 mặt, 12 cạnh, 8 đỉnh.
b. Hình lập phương có: 6 mặt, 12 cạnh, 8 đỉnh.
Vở bài tập toán lớp 5 tập 2 bài 104 Câu 2
Viết các số còn thiếu vào các mặt tương ứng:

Phương pháp giải:
Quan sát hình vẽ để xác định các mặt rồi viết các số còn thiếu vào các mặt tương ứng.

Vở bài tập toán lớp 5 tập 2 bài 104 Câu 3
Cho hình hộp chữ nhật (xem hình bên).

a. Viết tiếp vào chỗ chấm cho thích hợp:
DQ = AM = ………. = ………..
AB = MN = ………. = ………..
AD = BC = ……….. = ……….
b. Biết hình hộp chữ nhật có chiều dài 7cm, chiều rộng 4cm, chiều cao 5cm. Tính diện tích mặt đáy ABCD và các mặt bên DCPQ, AMQD.
Phương pháp giải:
- Quan sát hình vẽ và dựa vào tính chất của hình hộp chữ nhật để xác định các cạnh bằng nhau.
- Mặt đáy ABCD và các mặt bên DCPQ, AMQD đều là hình chữ nhật.
- Ta tính diện tích các hình theo công thức: diện tích hình chữ nhật = chiều dài × chiều rộng.
Đáp án
a. DQ = AM = BN = CP
AB = MN = PQ = DC
AD = BC = NP = MQ
b. Diện tích mặt đáy ABCD là:
7 ⨯ 4 = 28 (cm2)
Diện tích mặt bên DCPQ là:
7 ⨯ 5 = 35 (cm2)
Diện tích mặt bên AMQD là:
4 ⨯ 5 = 20 (cm2)
>> Bài tập tự luyện: Bài tập Toán lớp 5: Thể tích hình hộp chữ nhật
Vở bài tập toán lớp 5 tập 2 bài 104 Câu 4
Đánh dấu x vào ô trống đặt dưới hình hộp chữ nhật, đánh dấu vào ô trống đặt dưới hình lập phương:

Phương pháp giải
Quan sát hình vẽ và dựa vào cách tính chất của hình hộp chữ nhật, hình lập phương để xác định hình nào là hình hộp chữ nhật, hình nào là hình lập phương.
Đáp án
Dựa vào tính chất của hình hộp chữ nhật và hình lập phương, ta có đáp án sau đây.

>> Bài tiếp theo: Giải vở bài tập Toán 5 bài 105: Diện tích xung quanh và diện tích toàn phần của hình chữ nhật
Lý thuyết Hình hộp chữ nhật. Hình lập phương
1. Hình hộp chữ nhật Toán 5
- Hình hộp chữ nhật được vẽ như sau:

- Hình hộp chữ nhật có sáu mặt (như hình vẽ): hai mặt đáy (mặt 1 và mặt 2) và bốn mặt bên (mặt 3, mặt 4, mặt 5, mặt 6) đều là hình chữ nhật.
Mặt 1 bằng mặt 2; mặt 3 bằng mặt 5; mặt 4 bằng mặt 6.

- Hình hộp chữ nhật có tám đỉnh và mười hai cạnh.
Ví dụ: Cho hình hộp chữ nhật như hình vẽ:

Hình hộp chữ nhật trên có:
+) Tám đỉnh là: đỉnh A, đỉnh B, đỉnh C, đỉnh D, đỉnh M, đỉnh N, đỉnh P, đỉnh Q.
+) Mười hai cạnh là: cạnh AB, cạnh BC, cạnh CD, cạnh DA, cạnh MN, cạnh NP, cạnh PQ, cạnh MQ, cạnh AM, cạnh BN, cạnh CP, cạnh DQ.
Hình hộp chữ nhật có ba kích thước: chiều dài, chiều rộng, chiều cao.
2. Hình lập phương

- Hình lập phương có sáu mặt là các hình vuông bằng nhau.
- Hình lập phương có tám đỉnh và mười hai cạnh.
Chú ý: Hình lập phương là hình hộp chữ nhật có chiều dài, chiều rộng và chiều cao bằng nhau.
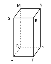
Ví dụ: Cho hình hộp chữ nhật sau. Nêu số đỉnh, số cạnh và kể tên các đỉnh, cạnh của hình hộp chữ nhật.

Cách làm: Quan sát hình hộp chữ nhật để đếm số đỉnh, cạnh và kể tên các đỉnh và cạnh.
Bài làm:
Hình hộp chữ nhật trên có:
- 8 đỉnh, đó là: đỉnh M, đỉnh N, đỉnh P, đỉnh Q, đỉnh S, đỉnh R, đỉnh T, đỉnh O.
- 12 cạnh, đó là: cạnh MN, cạnh MQ, cạnh MS, cạnh NP, cạnh NR, cạnh PT, cạnh PQ, cạnh QO, cạnh SR, cạnh RT, cạnh TO, cạnh SO
>> Lý thuyết Hình hộp chữ nhật. Hình lập phương
Bài tập Hình hộp chữ nhật. Hình lập phương
- Toán lớp 5 trang 108 Hình hộp chữ nhật. Hình lập phương
- Giải Toán lớp 5 VNEN bài 68: Hình hộp chữ nhật. Hình lập phương
....................
Ngoài ra, các em học sinh lớp 5 còn có thể tham khảo thêm đề thi học kì 2 lớp 5 đầy đủ các môn học Toán, Tiếng Việt, Tiếng Anh, Khoa học, Lịch sử - Địa lý mà VnDoc.com đã sưu tầm và chọn lọc. Hy vọng với những tài liệu này, các em học sinh sẽ học tốt môn Toán lớp 5 hơn mà không cần sách giải.