Giải bài tập trang 153 SGK Toán 2: Mi - li - mét
Giải bài tập trang 153 SGK Toán 2: Mi - li - mét
Giải bài tập trang 153 SGK Toán 2: Mi - li - mét có đáp án và hướng dẫn giải chi tiết cho từng bài tập SGK giúp các em học sinh nắm được cách quy đổi đơn vị ra mi - li - mét, và các dạng bài tập liên quan đến đơn vị đo độ dài mi - li - mét. Mời các em cùng tham khảo.
Hướng dẫn giải bài Mi - li - mét – SGK toán 2 (bài 1, 2, 3, 4 trang 153/SGK Toán 2)
Bài 1: (Hướng dẫn giải bài tập số 1 SGK)
Số?
1cm = ...mm 1000mm = ...m 5cm = ...mm
1m = ....mm 10mm = ....cm 3cm = .....mm
Hướng dẫn giải
1cm =10 mm 1000mm =1m 5cm =50mm
1m = 1000mm 10mm =1cm 3cm = 30mm
Bài 2: (Hướng dẫn giải bài tập số 2 SGK)
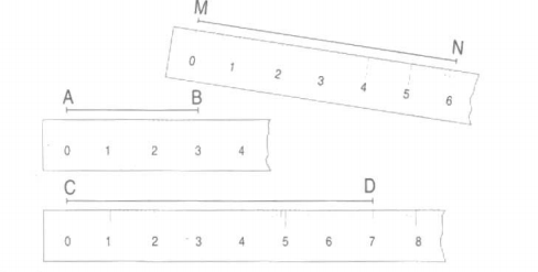
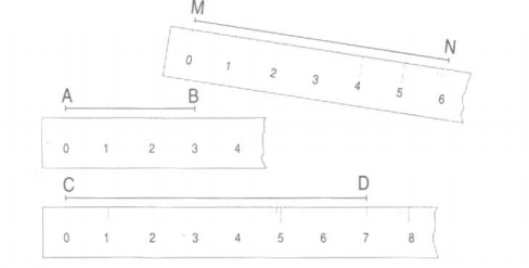
Mỗi đoạn thẳng dưới đây dài bao nhiêu milimet

Hướng dẫn giải
Đoạn thẳng MN dài: 6mm
Đoạn thẳng AB dài: 3mm
Đoạn thẳng CD dài: 7mm
Bài 3: (Hướng dẫn giải bài tập số 3 SGK)
Tính chu vi tam giác có độ dài các cạnh là:
24mm, 16 mm, 28mm
Hướng dẫn giải
Chu vi tam giác là:
24 + 16 + 28 = 68 mm
Đáp số: 68 mm
Bài 4: (Hướng dẫn giải bài tập số 4 SGK)
Viết mm hoặc cm vào chỗ chấm thích hợp:
a) Bề dày của cuốn sách Toán 2 khoảng 10...
b) Bề dày của thước kẻ là 2 ...
c) Chiều dài của chiếc bút bi là 15 ...
Hướng dẫn giải
Viết mm hoặc cm vào chỗ chấm thích hợp:
a) Bề dày của cuốn sách Toán 2 khoảng 10mm
b) Bề dày của thước kẻ là 2mm
c) Chiều dài của chiếc bút bi là 15 cm
>> Bài tiếp theo: Giải bài tập trang 154 SGK Toán 2: Luyện tập